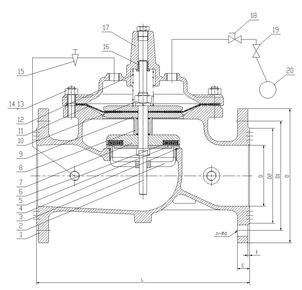
当管道从阀门的进水端给水时,由于针型阀、球阀和浮球阀是常开的,所以通过针型阀的水进入阀盖控制室后,又经球阀和浮球阀流进水箱,控制室内不能形成压力,则进入阀瓣下面的入口压力将阀瓣托起,打开阀瓣向水箱内大量供水。
当水池或水塔内的水位逐渐升高,浮球浮起后把小浮球阀关闭时,阀盖控制室内的水便逐渐增加压力直至把阀瓣关闭,此时便起到了自动遥控的作用。当水位下降至一定程度,浮球随水面下降浮球阀被打开,控制室内的水流走,压力下降而把阀瓣托起,及时向水池或水塔补充储水。



版权所有:博纳斯威阀门股份有限公司 地 址:天津市宝坻区九园工业园5号路
版权所有:博纳斯威阀门股份有限公司
地 址:天津市宝坻区九园工业园5号路